Product Summary
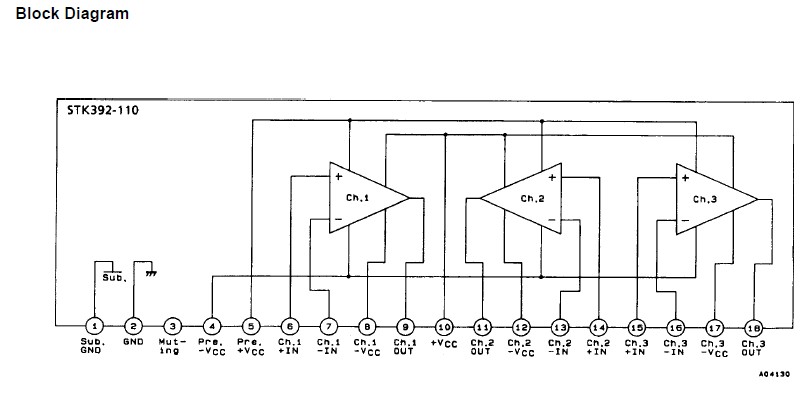
The STK392-110 is a convergence correction circuit IC for video projectors. It incorporates three output amplifiers in a single package, making possible the construction of CRT horizontal and vertical convergence correction output circuits for each of the RGB colors using ust two hybrid ICs. The STK392-110 is used in video projectors.
Parametrics
STK392-110 absolute maximum ratings: (1)Maximum supply voltage: max ±38 V; (2)Maximum collector current: 3.0 A; (3)Thermal resistance: 3.0℃/W; (4)Junction temperature: 150℃; (5)Operating temperature: 125℃; (6)Storage temperature: –30 to +125℃.
Features
STK392-110 features: (1)3 output amplifier circuits in a single package; (2)High maximum supply voltage (VCC max = ±38V); (3)Low thermal resistance (qj-c=3.0℃/W); (4)High temperature stability (TC max=125℃); (5)Separate predriver and output stage supplies; (6)Output stage supply switching for high-performance designs; (7)Low inrush current when power is applied.
Diagrams

| Image | Part No | Mfg | Description | ![]() |
Pricing (USD) |
Quantity | ||||
|---|---|---|---|---|---|---|---|---|---|---|
![]() |
![]() STK392-110 |
![]() Other |
![]() |
![]() Data Sheet |
![]() Negotiable |
|
||||
| Image | Part No | Mfg | Description | ![]() |
Pricing (USD) |
Quantity | ||||
![]() |
![]() STK3042II |
![]() Other |
![]() |
![]() Data Sheet |
![]() Negotiable |
|
||||
![]() |
![]() STK3062III |
![]() Other |
![]() |
![]() Data Sheet |
![]() Negotiable |
|
||||
![]() |
![]() STK30N2LLH5 |
![]() STMicroelectronics |
![]() MOSFET N-channel 25 V 0.0024 30A Mdmesh |
![]() Data Sheet |
![]() Negotiable |
|
||||
![]() |
![]() STK311-010 |
![]() Other |
![]() |
![]() Data Sheet |
![]() Negotiable |
|
||||
![]() |
![]() STK311-020 |
![]() Other |
![]() |
![]() Data Sheet |
![]() Negotiable |
|
||||
![]() |
![]() STK311-050 |
![]() Other |
![]() |
![]() Data Sheet |
![]() Negotiable |
|
||||
(China (Mainland))










